生态与应用在 AI 时代下的变化

生态与应用在 AI 时代下的变化

生态与应用在 AI 时代下的变化

  1. ChatGPT 为首的新 AI,它和过去完全不同,其中央算法能力非常强大,从而能够解决以往 AI 无法做到的多模态数据同步结合分析判断。

高通最近发布了一个专利“Extended reality control of smart devices”

这项专利解决了以下问题:

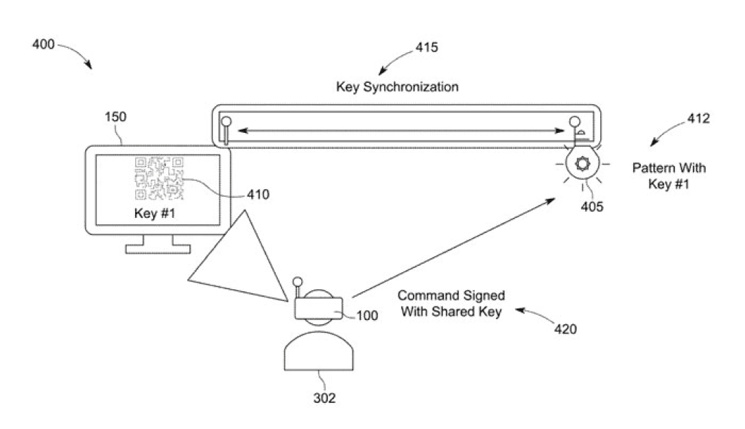
  • 如何让 XR 设备可以快速和简单地与物联网设备建立连接,并且可以直接通过 XR 操作界面进行控制。

  • 如何让 XR 设备可以临时授予或撤销对物联网设备的访问权限,而不需要复杂的手动步骤或中央系统的批准。

  • 如何让 XR 设备可以安全地与物联网设备通信,并且可以防止未经授权的设备或用户干扰或篡改命令。

有什么作用呢?

物联网设备可以使用生成的密钥来验证签名的命令,并允许签名命令的发送者临时控制物联网设备。

物联网设备可以设置每个生成密钥的过期时间,一旦密钥过期,就不接受由该密钥签名的命令。

一组附近的物联网设备可以共享相同的密钥,使得从一个物联网设备提取密钥的电子设备同样可以控制该组中的任何其他物联网设备。

这套东西结合AI将大大推动自然行为交互的发展

整体呈现从“人找服务”到“服务找人”的趋势,要“更贴心”而不是更打扰

  1. 随着 AI 功能的发展,人们的专注力不会在一个设备上停留太长时间,各种任务的场景边界非常模糊,APP 需要不断协作,所以 APP 的墙壁会被进一步打穿

举一个简单例子,五一你要跟女朋友出去旅游,你将这个想法输送给 AI,输入地点、时间、预算。AI 通过查看各种 APP,帮你从饮食、交通、住宿、门票等等帮你列出了所有的行程和花费,一键帮你预定完毕。这个时候 AI 就成了一个超级 APP,现在你点外卖找吃的第一时间找美团,未来第一时间可能是找 AI,而不是某一个 APP

  1. 信息爆炸的时代,人无法掌握所有数据,数据的融合,只有 AI 才能整理明白,所以可能并不需要一个全能的文件夹和文件树状结构,基于AI强大的判断和联想能力,人对于数据的获取不再是由面到点,而是直来直去,直达终点。
  2. 多模态结合,无处不在的计算将成为现实,人们可能不会那么依赖某一个中央处理终端,任何场景任何终端都能够帮助用户完成任务。同一个任务可在多个终端同步且完成。

比如说你可以在床前叫起音箱语音助手定一个明天的闹钟,走到沙发位置,你的手机问你定几点的,出门坐上车对着车机说定下午 4 点的。这个时候你的任务就完成了。这个例子可能比较极端,核心要说明的时候多模态组合服务,用户注意力和任务不会像现在一样要集中精力马上完成,任务也不在是各个设备间孤立的存在,是灵活的,可流转的。真正的智能家居可能真的要来了

  1. 输入的模态变得丰富,手势、语音、键盘、甚至于眼神都将成为人类与设备沟通的锚点。
  2. 和系统交互可能不再是以图标为主轴,而是信息对话,同时做到更贴心而不是更打扰。(第一点提到)
  3. 幸运的是,这样的世界不同于当前对于老年人的要求那么高,它更易上手,它只需要用语音都可以完成。从配合设备到自然行为的转变,对于不适应智能产品的老年人而言,是一件好事。


© 与有意思的人,做有意义的事儿.

Design by

LIGO

© 与有意思的人,做有意义的事儿.

Design by

LIGO

© 与有意思的人,做有意义的事儿.

Design by

LIGO

Create a free website with Framer, the website builder loved by startups, designers and agencies.